soluções de instalação de gás práticas e eficientes para seu projeto
Nos projetos de rede de gás contamos com profissionais habilitados que seguem com rigorosidade as normas técnicas vigentes de forma a garantir os mais elevados padrões de segurança e o fornecimento de gás eficiente para bem-estar dos utilizadores.
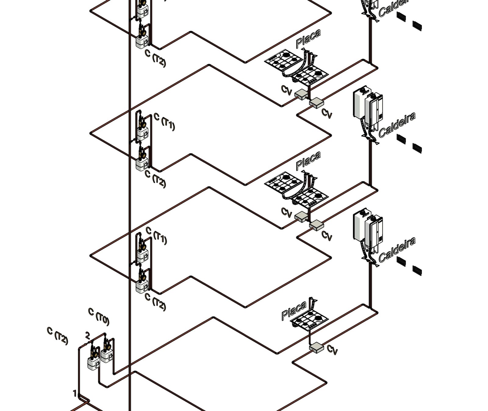
REDE DE DISTRIBUIÇÃO DE GÁS
O projeto de redes prediais de gás define os critérios e o dimensionamento de uma rede de gás, a ventilação correta do ambiente, os procedimento de construção, montagem e inspeções, a seleção dos materiais adequados, o domínio dos tipos de gás combustíveis bem como dos diferentes tipos de aparelhos a gás e equipamentos necessários ao abastecimento. A base nos regulamentos técnicos legais asseguram a segurança da rede, a sua durabilidade, a eficiência energética e sustentabilidade do sistema.